AL-77877 | MAIN OUTSIDE CABLE, RIGHT FOR STRYKER BIRTHING BED

(No reviews yet) Write a Review
SKU:
77877
$92.95

 

 

For California residents only:
⚠ WARNING: Cancer and Reproductive Harm - www.P65Warnings.ca.gov

Frequently bought together:

Description

Description:

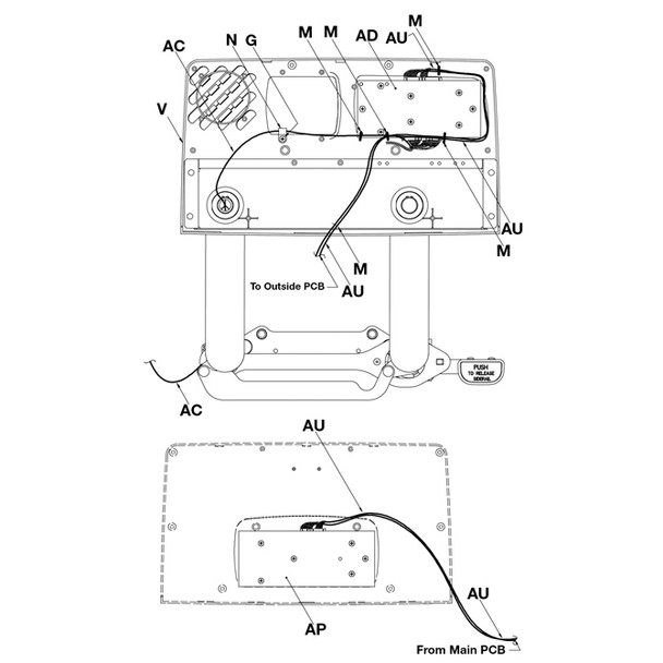
Main Outside Cable (Right)

Please Note: Actual part is shown in diagram as Figure AU

Specifications:

  • Stryker Part Number: 5000-080-011
  • Fits: Stryker Birthing Bed Model LD304

ACTUAL PRODUCT & COLORS MAY VARY FROM WHAT IS SHOWN

View AllClose