AL-47755 | SCREW SHEET METAL-PPHSM #10 x 3/4" FOR GENDRON

(No reviews yet) Write a Review
SKU:
47755
Please Call for Pricing and Availability: (800) 323-4282

 

 

For California residents only:
⚠ WARNING: Cancer and Reproductive Harm - www.P65Warnings.ca.gov

Frequently bought together:

Description

Description:

Sheet Metal Screw

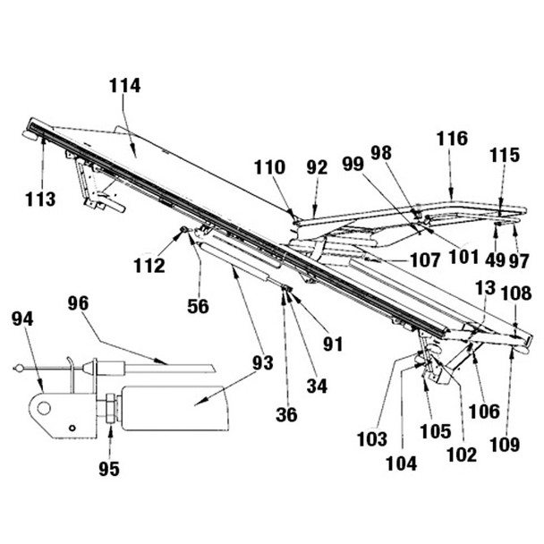
Please Note: Actual product is shown in diagram as Figure 99

Specifications:

  • Gendron Part Number: P456
  • Fits Gendron Stretcher Models 880, 890, 980, 990 & 1190-132
  • Diameter: #10
  • Length: 3/4''

ACTUAL PRODUCT & COLORS MAY VARY FROM WHAT IS SHOWN

View AllClose